
公称通径(DN) | 20 | 25 | 32 | 40 | 50 | 65 | 80 | 100 | 125 | 150 | 200 | 250 | 300 | |
阀座直径(dn) | 20 | 25 | 32 | 40 | 50 | 65 | 80 | 100 | 125 | 150 | 200 | 250 | 300 | |
额定流量系数(KV) | 单座 | 6.9 | 11 | 17.6 | 27.5 | 44 | 69 | 110 | 176 | 275 | 440 | 630 | 875 | 1250 |
套筒 | 6.3 | 10 | 16 | 25 | 40 | 63 | 100 | 160 | 250 | 360 | 570 | 850 | 1180 | |
双座 | 8 | 11 | 17,6 | 27.5 | 44 | 69 | 110 | 176 | 275 | 440 | 690 | 900 | 1300 | |
允许压差(MPa) | 单座 | 3.8 | 3.2 | 3.0 | 2.0 | 1.8 | 1.5 | 1.4 | 1.0 | 0,7 | 0.6 | 0.5 | 0.3 | 0.1 |
套筒 | 6.4 | 6.4 | 5.2 | 5.2 | 4.6 | 4.6 | 3.7 | 3.7 | 3.5 | 3.1 | 3.1 | 2.6 | 2.2 | |
双座 | ≤ 公称压力 | |||||||||||||
公称压力(MPa) | 1.6、2.5、4.0、6.4、10.0 | |||||||||||||
额定行程(mm) | 16 | 25 | 40 | 60 | 100 | |||||||||
阀盖形式 | 标准型(-17~+250℃)、高温型(+250~+450℃)、低温型(-40~-196℃)、波纹管密封型(-40~+350℃) | |||||||||||||
压盖形式 | 螺栓压紧式 | |||||||||||||
密封填料 | V型聚四氟*烯填料、V型柔性石墨填料 | |||||||||||||
阀芯形式 | 单座式、套筒式、双导向式 | |||||||||||||
流量特性 | 等百分比、直线性 | |||||||||||||
配置执行器类别 | DKZ系列电动执行器(客户指定品牌亦可) | |||||||||||||
执行器参数 | 电源电压:220V、380V、输入信号:4-10mA DC、4-20mA DC、输出信号:4-20mA·DC | |||||||||||||
防护等级:相当IP65、隔爆标志:ExdⅡBT4(ExdⅡBT6特殊定制)、手操功能:手柄 | ||||||||||||||
环境温度:-25~+70℃、环境湿度:≤95% | ||||||||||||||

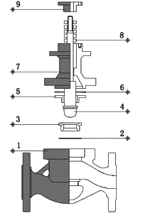
精小型电动调节阀 (单座式结构) | 精小型电动调节阀 (套筒式结构) | ||||
1 | 阀体 | WCB、CF8、CF8M、CF3 | 1 | 阀体 | WCB、CF8、CF8M、CF3 |
2 | 垫片 | PTFE、金属石墨垫片 | 2 | 垫片 | PTFE、金属石墨垫片 |
3 | 阀座 | 304、316、316L | 3 | 套筒 | 304、316、316L |
4 | 阀芯组件 | 304、316、316L | 4 | 阀芯 | 304、316、316L |
5 | 导向套/并帽 | 304、316、316L / 铜 | 5 | 中垫 | PTFE、金属石墨垫片 |
6 | 中垫 | PTFE、金属石墨垫片 | 6 | 阀盖 | PTFE\石墨垫片 |
7 | 阀盖 | WCB、CF8、CF8M、CF3 | 7 | 阀杆 | 304、316、316L |
8 | 填料 | PTFE、柔性石墨 | 8 | 填料 | PTFE、柔性石墨 |
9 | 填料压盖 | WCB、CF8、CF8M、CF3 | 9 | 填料压盖 | WCB、CF8、CF8M、CF3 |

●ZAZP电动调节阀(单座、双座结构)
公称通径(DN) | 20 | 25 | 32 | 40 | 50 | 65 | 80 | 100 | 125 | 150 | 200 | 250 | 300 | |
L | PN16/25 | 181 | 184 | 200 | 222 | 254 | 276 | 298 | 352 | 410 | 451 | 600 | 640 | 880 |
PN40 | 194 | 197 | 200 | 235 | 267 | 292 | 317 | 368 | 425 | 473 | 610 | 760 | 910 | |
PN64 | 206 | 200 | 210 | 251 | 286 | 311 | 337 | 394 | 440 | 508 | 650 | 810 | 950 | |
H | PN16/25 | 52.5 | 57.5 | 75 | 75 | 85.5 | 92.5 | 100 | 110 | 142.5 | 158 | 170 | 195 | 230 |
PN40 | 52.5 | 57.5 | 75 | 75 | 82.5 | 92.5 | 100 | 117.5 | 150 | 167.5 | 187.5 | 205 | 245 | |
PN64 | 65 | 40 | 85 | 85 | 90 | 102.5 | 107.5 | 125 | 172.5 | 195 | 207.5 | 230 | 260 | |
H1 | 653 | 665 | 671 | 683 | 698 | 789 | 792 | 796 | 847 | 855 | 894 | 1156 | 1215 | |
W | 460 | 460 | 460 | 460 | 530 | 530 | 530 | 530 | 630 | 630 | 630 | 630 | 630 | |
●ZAZP电动调节阀(套筒结构)
公称通径(DN) | 25 | 32 | 40 | 50 | 65 | 80 | 100 | 125 | 150 | 200 | 250 | 300 | |
L | PN16/25 | 185 | 200 | 220 | 250 | 275 | 300 | 350 | 410 | 450 | 550 | 670 | 770 |
PN40 | 190 | 210 | 230 | 255 | 285 | 310 | 355 | 425 | 460 | 560 | 740 | 805 | |
PN64 | 200 | 210 | 235 | 265 | 295 | 320 | 370 | 440 | 475 | 570 | 750 | 820 | |
H | PN16/25 | 117 | 120 | 139 | 144 | 188 | 208 | 220 | 268 | 278 | 320 | 441 | 503 |
PN40 | 124 | 128 | 145 | 150 | 195 | 220 | 230 | 280 | 290 | 335 | 465 | 528 | |
PN64 | 130 | 135 | 155 | 170 | 205 | 240 | 255 | 295 | 310 | 360 | 480 | 550 | |
H1 | 668 | 668 | 684 | 684 | 785 | 785 | 795 | 945 | 945 | 945 | 1050 | 1145 | |
W | 460 | 460 | 460 | 530 | 530 | 530 | 530 | 630 | 630 | 630 | 630 | 630 | |


