衬氟阀门

D71F46 手柄衬氟对夹蝶阀概述:
D71F、D71F46 手动对夹式衬氟蝶阀采用氟塑料衬里技术,采用对分两片式阀体组合,阀座与阀体内衬一体化,阀门工作时,只有全塑阀座与衬塑蝶板与介质接触,阀门可承受衬里材料介绍的介质腐蚀,采用四极密封结构并在密封面处配以耐温抗老化的SI橡胶的弹性衬垫,完全达到介质的零泄漏。阀体采用熔模铸造,强度高、外观光洁,与液体接触的过流部件全部为氟塑料(D71F4为衬聚四氟乙烯,D71F46为衬聚全氟乙丙烯,因此可在-50℃~180℃范围内长期使用于任意浓度的腐蚀性管路、管线工作。产品广泛适用于各种不同类型工业化工管道中。
手柄衬氟对夹蝶阀特点:
1、中线蝶阀为整个蝶板与阀座在360°圆周内同心(中线),具有双向密封功能,压力、流量可自由调节。
2、偏心蝶阀为二维方向偏心产品的凸轮效应会使密封副产生足够的密封比压,并且随着工作压力的升高,密封效果更理想。
3、四级加载弹性密封,保证了阀门内、外的零泄漏。a:轴与蝶阀一体外衬F46;b:轴头端面采用弹性O型圈和轴肩处刚性垫圈、弹性橡胶垫组合;c:轴的径向采用O型圈与金属轴套的组合;d:阀座镶嵌有弹性条的阀体槽内。
4、采用可弹性垫片定位准确,结构简单。(采用O型圈是为了防止意外泄漏时的安全措施)。
手柄衬氟对夹蝶阀的设计规范:
按GB/T12238,美标API 609及MSS SP-67标准
手柄衬氟对夹蝶阀驱动方式:
D71F46型为手柄驱动启闭,可以在手动的基础上加装蜗轮传动(D371F)、气动(D671F4)、电动(D971F46)等
手柄衬氟对夹蝶阀--主要零部件材料:
| 零件名称 | 材料 |
| 上下阀体 | 铸铁、铸钢、黄瓜视频APP最新下载官网、衬F46、F3 |
| 阀座 | 铸钢 |
| 带杆蝶板 | 铸钢、黄瓜视频APP最新下载官网、衬F46、F3 |
| 填料 | F4 |
| 衬垫 | 硅橡胶 |
| 蜗轮手柄 | 球墨铸铁 |
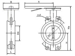
手柄衬氟对夹蝶阀--主要外形和连接尺寸:

| 公称通经 | L | D | D1 | D2 | f | b | Z-φd | |
| DN(mm) | NPS(inch) | PN1.0MPa | ||||||
| 40 | 3/2 | 33 | 145 | 110 | 85 | 3 | 18 | 4-φ18 |
| 50 | 2 | 43 | 160 | 125 | 100 | 3 | 20 | 4-φ18 |
| 65 | 5/2 | 46 | 180 | 145 | 120 | 3 | 20 | 4-φ18 |
| 80 | 3 | 49 | 195 | 160 | 135 | 3 | 22 | 4-φ18 |
| 100 | 4 | 56 | 215 | 180 | 155 | 3 | 22 | 8-φ16 |
| 125 | 5 | 64 | 245 | 210 | 185 | 3 | 24 | 8-φ18 |
| 150 | 6 | 70 | 280 | 240 | 210 | 3 | 24 | 8-φ23 |
| 200 | 8 | 71 | 335 | 295 | 265 | 3 | 26 | 8-φ23 |
| 250 | 10 | 76 | 390 | 350 | 320 | 3 | 28 | 12-φ23 |
| 300 | 12 | 83 | 440 | 400 | 368 | 4 | 28 | 12-φ23 |
| 350 | 14 | 92 | 500 | 460 | 428 | 4 | 30 | 16-φ23 |
| 400 | 16 | 102 | 565 | 515 | 482 | 4 | 32 | 16-φ25 |
| 450 | 18 | 114 | 615 | 565 | 532 | 4 | 32 | 20-φ25 |
| 500 | 20 | 127 | 670 | 620 | 585 | 4 | 34 | 20-φ25 |
| 600 | 24 | 154 | 780 | 725 | 685 | 5 | 36 | 20-φ30 |
| 700 | 28 | 165 | 895 | 840 | 800 | 5 | 40 | 24-φ30 |
| 800 | 32 | 190 | 1010 | 950 | 905 | 5 | 44 | 24-φ34 |
| 900 | 36 | 203 | 1110 | 1050 | 1005 | 5 | 46 | 28-φ34 |
| 1000 | 40 | 216 | 1220 | 1160 | 1115 | 5 | 50 | 28-φ34 |
| 1200 | 48 | 254 | 1450 | 1380 | 1325 | 5 | 56 | 32-φ41 |
| PN1.6MPa | ||||||||
| 40 | 3/2 | 33 | 145 | 110 | 85 | 3 | 18 | 4-φ18 |
| 50 | 2 | 43 | 160 | 125 | 100 | 3 | 20 | 4-φ18 |
| 65 | 5/2 | 46 | 180 | 145 | 120 | 3 | 20 | 4-φ18 |
| 80 | 3 | 49 | 195 | 160 | 135 | 3 | 22 | 8-φ18 |
| 100 | 4 | 56 | 215 | 180 | 155 | 3 | 24 | 8-φ18 |
| 125 | 5 | 64 | 245 | 210 | 185 | 3 | 26 | 8-φ18 |
| 150 | 6 | 70 | 280 | 240 | 210 | 3 | 28 | 8-φ23 |
| 200 | 8 | 71 | 335 | 295 | 265 | 3 | 30 | 12-φ23 |
| 250 | 10 | 76 | 405 | 355 | 320 | 3 | 32 | 12-φ25 |
| 300 | 12 | 83 | 460 | 410 | 375 | 4 | 34 | 12-φ25 |
| 350 | 14 | 92 | 520 | 470 | 435 | 4 | 38 | 16-φ25 |
| 400 | 16 | 102 | 580 | 525 | 485 | 4 | 40 | 16-φ30 |
| 450 | 18 | 114 | 640 | 585 | 545 | 4 | 44 | 20-φ30 |
| 500 | 20 | 127 | 705 | 650 | 608 | 4 | 46 | 20-φ34 |
| 600 | 24 | 154 | 840 | 770 | 718 | 5 | 54 | 20-φ41 |
| 700 | 28 | 165 | 910 | 840 | 788 | 5 | 54 | 24-φ41 |
| 800 | 32 | 190 | 1020 | 950 | 898 | 5 | 54 | 24-φ41 |
| 900 | 36 | 203 | 1120 | 1050 | 998 | 5 | 54 | 28-φ41 |
| 1000 | 40 | 216 | 1255 | 1170 | 1110 | 5 | 60 | |
相关产品


